SA视讯(中国区)官方网站SA视讯

我们非常重视您的个人隐私,当您访问我们的网站时,请同意使用的所有cookie。有关个人数据处理的更多信息可访问《隐私政策》

SA视讯(中国区)官方网站 id="pcHeadSearch">

CN

SA视讯(中国区)官方网站 class="g_syworldbtmimg1"> SA视讯(中国区)官方网站 class="g_syworldbtmimg2">
EN
产品中心
智能低边开关

产品中心

汽车40V单路160mΩ智能低边开关

SA视讯(中国区)官方网站>
SA视讯(中国区)官方网站>

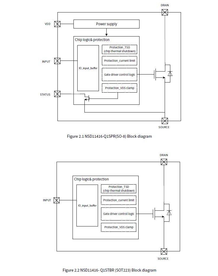
NSD11416是应用于汽车和工业场景的单通道智能低边开关,其耐压>40V,内阻约160mΩ,兼具各种诊断与保护功能,通过AEC Q100车规认证。芯片内置>45V的过压钳位,特别适用于驱动继电器和阀门等电感负载,帮助其实现快速退磁。芯片具有内部输出限流功能,实现过载及短路保护。内置绝对过温保护和相对过温保护,以多重方式防止芯片过热,减缓功率累积,提高芯片可靠性。芯片可在-40℃至125℃的环境温度下运行,支持SOT223, SOP8封装,满足不同设计需求。

产品特性

- 工作电压范围至40V

- 导通电阻:160mΩ

- 过压钳位,支持感性负载

- 过流保护:限流值>2.5A

- 过流保护;绝对过温保护,相对过温保护

- 工作温度:Tj=-40°C~150°

- AEC-Q100认证

应用场景

- 汽车BMS系统

- 汽车车身控制器

- 整车控制器

- 空调控制面板

- PLC

功能框图

image.png

SA视讯(中国区)官方网站>

如您需要咨询产品更多信息,请点击“SA视讯(中国区)官方网站”,我们将尽快回复您!

SA视讯