我们非常重视您的个人隐私,当您访问我们的网站时,请同意使用的所有cookie。有关个人数据处理的更多信息可访问《隐私政策》
>
>
>
>
>
>
>
>
>
>
>
>
>
>
>
>
>
>
>
>
>
>
>
>
>
>
>
>
>
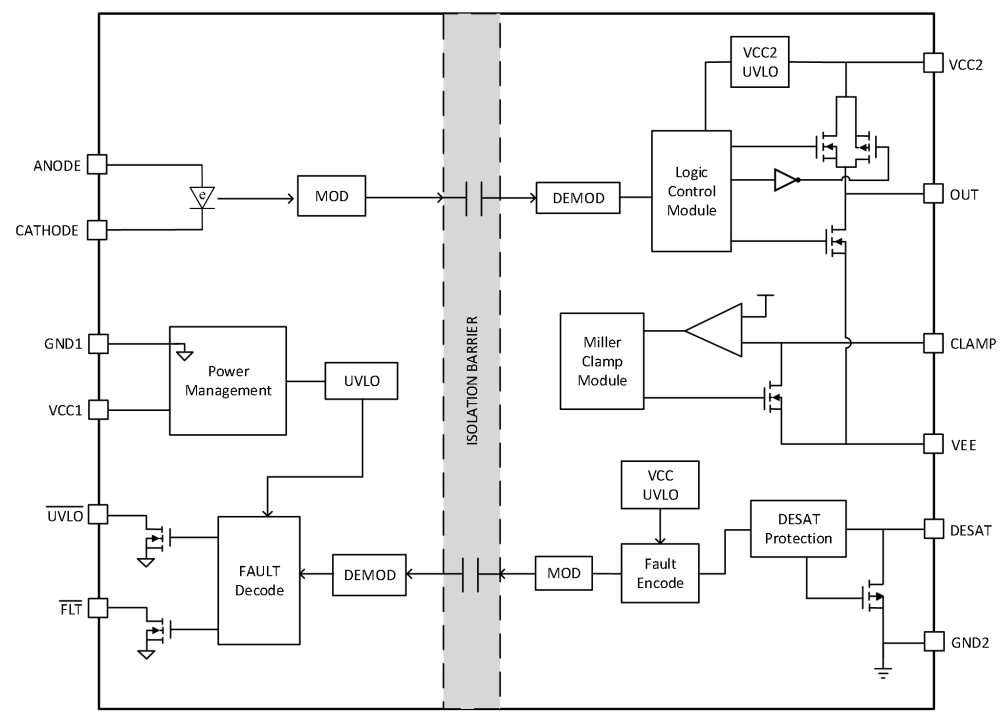
NSI68515是光耦兼容的智能隔离式单通道栅极驱动器,可用于驱动IGBT,功率MOSFET和SiC MOSFET等功率晶体管,并为其提供保护。NSI68515 可以提供最大+5A/-5A的拉灌电流能力,驱动器侧电源电压最大为32V,而输入侧则接受3V至5.5V的电源电压。它可以提供的优秀的保护功能,如UVLO、Miller钳位、DESAT保护、软关断功能等,且检测到短路故障或欠压发生时,通过单独的引脚报警。它可提供报警自动复位版本,以及轨到轨输出和非轨到轨输出版本选择。它支持150kV/μs的最小共模瞬变抗扰度(CMTI,提高系统鲁棒性。 NSI68515 驱动电流大,电源电压范围宽,CMTI高,且具有出色的保护功能,适用于高可靠性、高功率密度和高效率的电机驱动、逆变器、开关电源系统等系统。
产品特性
• 智能隔离单通道驱动器
• 输入侧电源电压: 3V至5.5V
• 驱动器侧电源电压:最大耐压35V,具有UVLO功能
• 峰值5A/5A拉灌电流能力
• 高CMTI:150kV/us
• 100ns典型传播延迟
• 100ns最大脉冲宽度失真
• 接受最小输入脉冲宽度40ns
• NSI68515LC/UC/AC 轨对轨输出,NSI68515AC非轨对轨输出
• NSI68515AC/RC 支持自动复位
• 保护模式:
米勒钳位 4.0A
DESAT保护,阈值6.5V
支持软关断功能,软关断电流140mA
支持报警反馈
• 工作温度: -40℃~125℃
安全认证
• UL1577认证: 5.7KVrms (认证中)
• CQC认证:符合GB4943.1-2011 (认证中)
• CSA认证:组件符合5A (认证中)
• VDE认证:DIN V VDE V 0884-11:2017-1 (认证中)
应用场景
• EV 电驱系统
• 空调压缩机
• DC-AC太阳能逆变器
• 电机驱动
• UPS和电池充电器
功能框图


>如您需要咨询产品更多信息,请点击“SA视讯(中国区)官方网站”,我们将尽快回复您!