SA视讯(中国区)官方网站SA视讯

我们非常重视您的个人隐私,当您访问我们的网站时,请同意使用的所有cookie。有关个人数据处理的更多信息可访问《隐私政策》

SA视讯(中国区)官方网站 id="pcHeadSearch">

CN

SA视讯(中国区)官方网站 class="g_syworldbtmimg1"> SA视讯(中国区)官方网站 class="g_syworldbtmimg2">
EN
产品中心
线性电流传感器 SA视讯(中国区)官方网站

产品中心

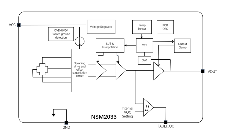
NSM2033: 线性霍尔电流传感器

SA视讯(中国区)官方网站>

NSM2033 系列是纳芯微推出的高精度线性电流传感器,可为基于聚磁环的大量程电流检测提供高精度的解决方案,被广泛应用于电动汽车电驱系统的相电流检测、工业系统中电流模块的大电流检测。

产品特性

• -40℃ ~ 150℃宽的工作环境温度

• 0.5 ~ 30 mV/G超宽可编程灵敏度范围

• <±1% 全温度范围内极小的灵敏度误差

• <±5 mV全温度范围内极低的零点漂移

• 3mvRMS行业领先的噪声表现

• 400KHz超高带宽

• 1.5us快速响应时间

• 业界领先的ESD性能:HBM:±8kV、CDM:±2kV

• 可选固定输出或比例输出版本

• 断地线检测,过压/欠压检测

• 过流保护功能

• 不同供电型号可选,3.3V 或 5 V单电源工作

• 1mm TO94封装以及多种引脚弯折形式

• 符合 RoHS 标准的封装

应用场景

• 电流传感器模组

功能框图

NSM2033功能框图.png

SA视讯(中国区)官方网站>

如您需要咨询产品更多信息,请点击“SA视讯(中国区)官方网站”,我们将尽快回复您!

SA视讯