我们非常重视您的个人隐私,当您访问我们的网站时,请同意使用的所有cookie。有关个人数据处理的更多信息可访问《隐私政策》
>
>
>
>
>
>
>
>
>
>
>
>
>
>
>
>
>
>
>
>
>
>
>
>
>
>
>
>
产品特性
• 最高5000Vrms绝缘电压
• ±50mV或±250mV线性输入电压范围
• 固定增益:8.2或41
• 低偏置误差和温漂:
• NSI1300D25: ±0.2mV(Max), -2~4μV/°C(Max)
• NSI1300D05: ±0.1mV(Max), -0.8~1μV/°C(Max)
• 低增益误差和温漂:
• ±0.3%(Max),±50ppm /°C(Max)
• 低非线性和温漂:
• ±0.03%(Max),±1ppm /°C(Typ)
• SNR:86dB(Typ,BW = 10kHz),72dB(Typ,BW = 100kHz)
• 带宽:310kHz(Typ)
• 高CMTI:150kV /us( Typ)
• 系统级诊断功能:
• VDD1监控
• 输入共模过压检测
• 工作温度:-40°C〜125°C
• 符合RoHS的封装:
• SOP8(300mil)
安全认证
• UL1577认证: 1分钟 5kVrms
• CQC认证:符合GB4943.1-2011
• CSA认证:组件符合5A
• VDE认证:DIN V VDE V 0884-11:2017-01
应用场景
• 分流电流监控
• 交流电机控制
• 电力和太阳能逆变器
• 不间断电源供应
• 车载充电器
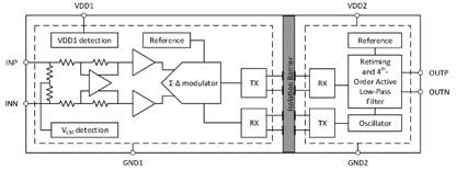
功能框图

>如您需要咨询产品更多信息,请点击“SA视讯(中国区)官方网站”,我们将尽快回复您!